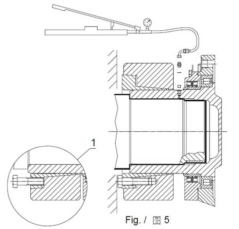
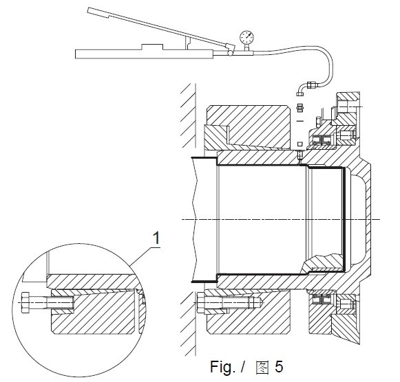
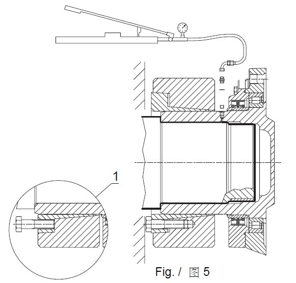
(1)以重复的顺序拧松螺丝,直到接头可以在轮毂上转动。重要事项:在涨套的钢圈尚未完全脱离前,切勿完全拧松螺丝。较大的轴向力会导致行星减速机/行星齿轮减速器剧烈的移动,可能给操作人员带来危险。 (2)如果拧松螺丝后,涨紧套的钢圈没有自动脱离,请使用涨套内钢圈上的拆卸专用螺纹孔,旋紧螺钉后,使涨紧套内圈和外圈分离,见图5细节1部分。


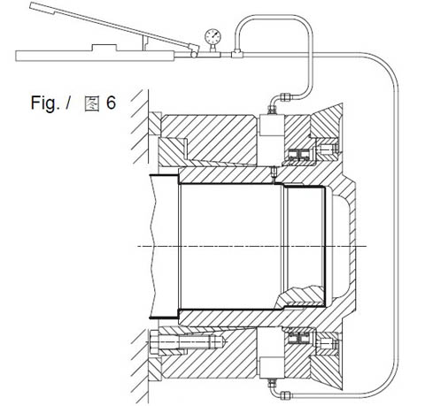
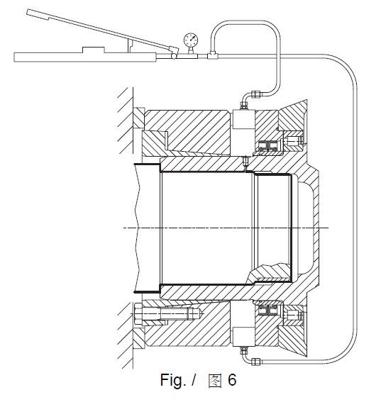
(3)如图5所示,轴向滑动接头,从而可从孔G1/8加入加压油(最大1000bar),以便于从机器轴上卸下行星减速机/行星齿轮减速器装置。如果在使用上述方法时,由于涨紧套不能确保耐压强度而无法释放行星减速机,可按照图6的方法进行操作,如果空间允许,可使用专用液压推进装置,在位于减速机封盖对称180度的位置各放置一个液压推进装置。 (4)如果是在开机运行过一段时间后拆卸齿轮装置,则需要将涨紧套从轴上卸下,并使锥形圈脱离,并清除安装表面上的所有残余污垢或铁锈。重新装配涨紧套前,请按装配方法来操作。
|